В недавней (относительно) заметке на тему «Каким будет новый смартфон от Microsoft» я достаточно информативно описал, что нам следует ожидать. Сугубо субъективно, конечно же. Если же вам интересна тема будущего Surface Phone (или как там его назовут), то следующая порция слухов подъехала.
Дело в том, что на данном этапе какие-либо заключения (без «сливов» в виде фото семплов) можно делать:
- из идеологии развития компании (исходя из тех устройств, которые данная компания выпускает и на что ориентируется);
- косвенно из критики представителями данной компании продукции других компаний (считай конкурентов);
- из конкретных шагов в данном направлении, которые доступны общественности (в данном случае патентных заявок).
Данный список не претендует на полноту, а дает общее представление от куда вообще берутся слухи в ИТ сфере на раннем этапе.
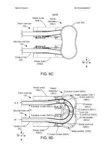
Итак, 28 марта был опубликован очередной патент от Microsoft, который относиться к мобильным устройствам и показывает механизм складывания для будущего устройства (Ориентировочно Surface Phone).
Шарнирный механизм очень похож на таковой в Surface Book и позволяет вращать половинки устройства почти на 360 градусов. В Surface Book одна часть была клавиатурой с усиленной батареей и видеокартой (в дорогих версиях), а вторая — собственно компьютером (в планшетном исполнении).
В данном случае, очень похоже на то, что половинки устройства будут равноценными относительно друга и, скорее всего, здесь будет применен сенсорный экран с возможностью сгибания.









