Линейка устройств Microsoft Surface далеко не сразу перешла на использование разъема USB-C в отличие от других производителей, выпускающих элитные персональные компьютеры.
Во время выпуска Surface Book 2, Surface Go и Surface Studio 2 всё ещё не имели стандарта по технологии Thunderbolt 3, несмотря на наличие универсальных портов для различных целей. Новинки Surface Pro 6 и Surface Laptop 2 совсем проигнорировали данный порт.
Для тех, кто не знает, стандарт технологии Thunderbolt 3 дает возможность USB-C мгновенно передавать данные на скорости до 40 GB в секунду, а также может быть использован в целях зарядки устройства и подключения двух 4K мониторов при помощи одного порта.
Microsoft не стесняясь признает, что исключение порта связано с его неоднозначностью, так, добавление Micro-USB в планшет Surface 3 вызвало замешательство, когда пользователи начали пробовать зарядить устройство с его помощью.
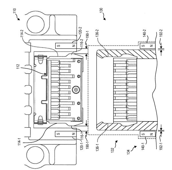
Для тех, кому необходим был коннектор, компания в итоге выпустила Type-C переходник. Тем не менее, патенты, поданные компанией, указывают на факт того, что ведутся работы по приведению указанного порта в их линейку в будущем. Еще один патент, поданный фирмой в мае 2018-го года, который был оглашен публично совсем недавно, предполагает возможность изобретения магнитного разъема Type-C.
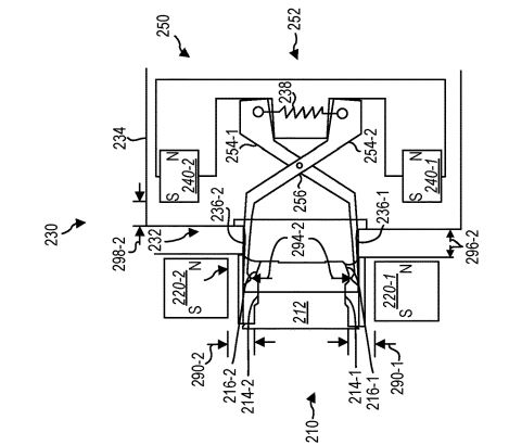
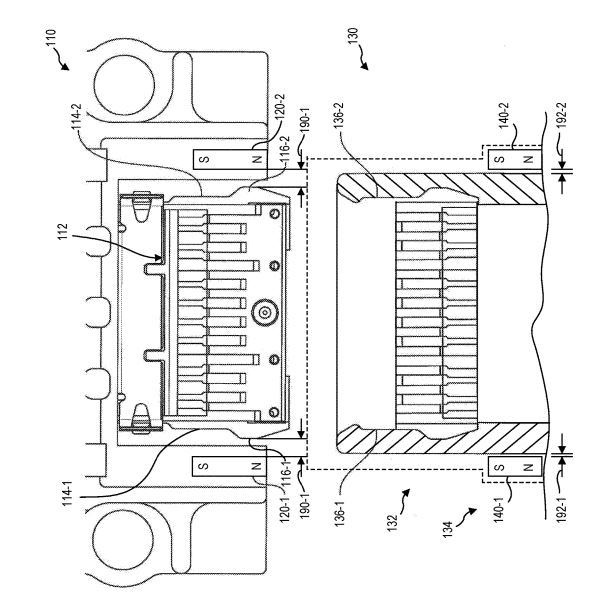
Названный патент изображает магнитный вход и «электрический коннектор, имеющий функцию присоединения на одной или более сторон переходника». Место сцепления, или, как лучше говорить, присоединения, может быть использовано для активации и отключения защелкивающего механизма, это нужно знать, имея в голове то, что этот соединитель может также иметь функцию принудительного отсоединения, как например, на устройстве Surface Book, а также одновременно использоваться с нынешней версией кабелей Surface Connect.
Дальнейшее описание патента в технической документации говорит о том, что коннектор не ограничен использованием разъема USB-C, но и может быть использован для подключения других разъемов. Означает ли это поддержку более старых моделей зарядных устройств Surface Connect или это какая-то новая форма для ввода и вывода данных пока не ясно. Разъем, возможно, позволит регулировать «трение», которое относится к обычным розеткам. Патент затрагивает информацию, касательно позиций магнита в зависимости от типа и толщины устройства, соответственно, они могут располагаться по сторонам девайса, сверху и снизу или даже сзади.
Компании подают заявку на патент, руководствуясь своими исследовательскими работами. Нет гарантии, что эта документация как-либо повлияет на дальнейшие спецификации устройств, поэтому информацию из данной статьи лучше всего принимать с небольшой долей скептицизма. Ожидается, что Microsoft запустить линейку новых Surface устройств в 2019 году и будет очень интересно посмотреть на адаптацию порта USB Type-C, если таковая произойдет глобально, при помощи своих наработок.







